Как правильно рассчитать размер формы для пеноблоков?
Строительные блоки (стеновые) обычно производятся в такомсоотношении (пропорции) длина : ширина : высота – 4 : 2 : 1. Такое соотношениеявляется оптимальным, поскольку позволяет выполнить перевязку рядов кладки безподрезки блоков. Таким образом, если глубина формы 150 мм, то ее ширина и длина
будут соответственно равна 300 и 600 мм.
Для частного производства пенобетонных блоков, целесообразноиспользовать форму, позволяющую одновременно изготавливать до 30 пеноблоков.

Обратите внимание, длина формы будет длиннее, чем суммарнаядлина блоков. Это обусловлено тем, что перегородки в форме имеют определенную. толщину
толщину.
Примечание. Лучше устанавливать перегородки таким образом,чтобы плоскость наибольшей площади оказалась сверху. Таким образом,обеспечивается более быстрое высыхание блока и равномерный набор прочности

пенобетона. По этой же причине не рекомендуется делать многоуровневые формы.
Особенности насоса для бетона
Чтобы запустить насос в работу, необходимо цементное молочко (или химическая смесь). Что касается первого варианта, то молочко, как правило, изготавливается прямо на месте работы, для чего смешивается вода с цементом.
В зависимости от конструкции бетононасоса меняется и принцип работы. Из миксера смесь попадает в автобетононасосный бункер, после чего она перекачивается по бетоноводу в необходимое место. Бетоновод-стрела может быть различной длины, от метра до нескольких десятков метров. Заливка может осуществляться и с помощью еще одного устройства доставки смеси к требуемому месту. Это трубопровод магистрального типа. Он состоит из металлических труб и собирается на объекте строительства.
Схема работы гидравлического бетононасоса.
Удобство заключается в том, что всегда можно увеличить длину трубы до нужной длины. Трубопровод заканчивается специальным рукавом, сделанным из резины, его еще называют хоботом. С его помощью можно изменять направление подачи раствора при бетонировании. С помощью магистрального трубопровода, как правило, осуществляется заливка фундамента в подвалы, поскольку использование стрелы в данном случае использовать нельзя в силу присутствия там линий электропередач.
Какими бывают насосы для бетона?
Тип насосов может быть различным: гидравлическим, механическим. Кроме того, конструкция бетононасосов для подачи бетона тоже может отличаться. Таким образом, существуют поршневые насосы и беспоршневые, стационарные и передвижные.
Что касается поршневого типа, принцип его работы заключается в том, что всасывание раствора происходит из бункера, а в обратном направлении происходит толкание смеси в бетоноводную трубу. Главным плюсом является гидравлика данных устройств. В них скорость подачи бетонной смеси является почти неизменной, поскольку работа бетононасоса, точнее, поршня, происходит плавно с большим ходом.
Схема бетононасоса с механическим приводом.
Таким образом, движение смеси по бетоноводу происходит равномерно без различных скачков. Это позволяет снизить сопротивление перемещения раствора, следовательно, мощность двигателя может быть меньше, чем в шатунном бетононасосе и механическом. Бетононасос, работающий на гидравлике, позволяет перемещать бетонную смесь на довольно большое расстояние и высоту. В сравнении с приводом механического типа гидравлика создает в бетоноводе довольно большое давление.
Поршневой бетононасос, как правило, чаще выходит из строя, поскольку поршни изнашиваются раньше. Происходит это из-за трения, носящего постоянный характер. Трение происходит по причине присутствия в смеси микрочастичек и молочка, проникающих в промежуток между поршнем и цилиндром. В сравнении с бетононасосами на гидравлике устройства механического типа выходят из строя быстрее, так как число циклов у поршней гораздо больше.
В двухцилиндровом бетононасосе поршневого типа подача бетона может осуществляться постоянно, что дает возможность обеспечивать попеременную закачку раствора в цилиндры. Что касается устройства с одним цилиндром, его работа происходит с перерывами, поскольку происходит пульсация раствора от максимального значения давления к минимальному (аналогично поршневому движению).
Схема прицепного бетононасоса: 1 – автошасси, 2 – блок цилиндра, 3 – приемный бункер, 4 – привод бетононасоса, 5 – кожух.
В бетононасосах на гидравлике поршневого типа специальным наполнителем является вода или минеральное масло, обладающее достаточно сильным давлением, обеспечивая быструю загрузку бетонного раствора.
Роторный насос для бетона не содержит поршней. Его устройство заключается в наличии корпуса с ротором, расположенном внутри, на котором имеются покрытые резиной толкающие и прижимные ролики. В роторе имеется также специальное покрытое резиной отверстие, в котором находится армированный шланг из резины.
Данный вид бетононасосов используется, как правило, в тех случаях, когда объем работы не слишком большой. В тех местах, где присутствует частое армирование, этот вид усложняет укладку бетона. Главным, но единственным минусом данного агрегата является маленький срок службы шланга независимо от производительности самого устройства. Повреждение происходит щебнем, который является в данном случае заполнителем бетонной смеси.
Применение в строительстве
Бетононасос нужен для подачи смеси к месту ее использования, и также для выполнения работ в труднодоступных местах. Агрегат существенно ускоряет процесс работы, поэтому эксплуатируется везде, где используется бетон: строительство жилых и промышленных зданий, частных и многоэтажных домов, мостов, тоннелей и т.д.
Производимость бетононасоса может составлять 20-150 м3/час. Работа с устройством простая: бетон из емкости поступает на место, автоматически перекачиваясь в нужном режиме. Оборудование можно эксплуатировать круглый год – для этого есть система подогрева солярки, может быть обеспечена теплоизоляция.
Обслуживание бетононасосов простое: достаточно после каждого приготовления смеси использовать промывочный насос с водяным пистолетом. Работать агрегат может круглосуточно.
Конструкция и принцип работы
Прежде, чем браться за сооружение насоса для бетона, нужно изучить как он сконструирован и работает – это позволит определиться с предпочтительным типом устройства. Если не рассматривать экзотику, то варианта всего два – поршневой или роторный.
Поршневые насосы очень распространены. Их работа основана на движении поршней, с помощью которых перемещаемая среда захватывается и выталкивается. Выглядит работа устройства так: смесь подаётся в приёмный бункер, поршни передают её в бетонопровод, а их движение синхронизируется с распределительным механизмом, чтобы подача была непрерывной. Чтобы смесь не расслаивалась, требуется также предусмотреть механизм её перемешивания.
Поршневая конструкция может обеспечить высокую производительность и хороший напор, а значит и подачу смеси на большую высоту – вплоть до 65 метров. Конечно, в случае с самодельным устройством напор будет слабее, и всё же бетононасос будет превосходить по этому параметру самодельные устройства других типов.

Поршневые бетононасосы с применением гидравлики работают более плавно и выделяются большим сроком службы в сравнении с обычными. Гидравлика используется простая, не требующая большого расхода энергии, обслуживать такое устройство довольно легко. Поршневой насос для бетона с двумя цилиндрами подаёт раствор наиболее плавно, его работа малозаметна, но для него нужен более мощный двигатель.
В роторном насосе смесь перемещается при помощи ротора с роликами. Вращаясь, они толкают её вперёд. Если образуется пробка, двигатель запускается в реверсном режиме, и она удаляется. Менять расходники просто, ремонтировать насос недорого и служит он долго. Основная проблема, с которой придётся столкнуться – повреждение армированного шланга, оно происходит довольно часто. Резиновые уплотнители также быстро изнашиваются. Для роторного насоса опасны крупные наполнители, такие как щебень.
Шнековые насосы имеют схожее устройство, разница лишь в том, что подаётся смесь при помощи шнека, принцип работы которого такой же, как у механической мясорубки. Они уступают обычным роторным по производительности, но превосходят по создаваемому давлению.
Если оценивать в целом, то поршневые насосы превосходят по характеристикам роторные, зато последние дешевле обходятся и работают без шума. Что касается самостоятельного изготовления, по мнению большинства экспертов предпочтительны поршневые насосы – далее будет рассматриваться изготовление именно такого.

Как сделать измельчитель из подручных материалов
Шредер из болгарки и пылесоса

Металлический столик располагается на деревянной стационарной основе. Также следует установить защитный кожух, который предотвратит обратное движение измельченных веток.
Такой простой вариант садового измельчителя своими руками, видео наглядное тому подтверждение, можно легко создать на своей даче, без сложных этапов работы и приобретения дополнительных материалов.

Для изготовления измельчителя можно использовать детали от старых электроинмтрументов и бытовой техники
Шредер из стиральной машины
Садовый измельчитель можно создать из старой стиральной машинки. Для этого понадобится корпус и двигатель от техники, старая пила, ведро и другие детали, и инструменты для крепления конструкции.
Шредер из дрели
Еще одним элементарным изобретением является самодельный шредер с помощью электрической дрели. Принцип действия такого механизма напоминает овощерезку.

В ведро забрасывается мягкое сырье и запускается электрическая дрель. После тщательного измельчения до нужного состояния мульча извлекается. Данная конструкция рассчитана на небольшой объем перерабатываемых отходов.

Устройство для перелива жидкостей
Такой насос имеет два основных преимущества – простота конструкции и дешевизна. С его изготовлением справится любой человек. Никаких особых навыков здесь не требуется.

Как видно на видео, как сделать насос своими руками, вам понадобится:
- две бутылки (материал – пластик);
- одна крышка;
- отрезок пластмассовой трубы;
- кусок шланга.

Вот порядок действий, как сделать ручной насос своими руками:
- Изготовить клапан лепесткового типа. Для чего вытащить из крышки прокладку, обрезать её так, чтобы диаметр получился меньше бутылочного горлышка. Не забыть оставить без изменений сектор в 20 градусов.
- Проделать в крышке отверстие в 8 мм. Вернуть прокладку и накрутить на обрезанное загодя горлышко.
- Вставить в клапан кусок трубы. Взять вторую ёмкость и отрезать верх. Получившуюся воронку закрепить поверх трубы.
- На свободный конец трубы одеть шланг. Работа над конструкцией насоса завершена.
Читайте здесь — Зимний курятник своими руками: устройство, планировка, утепление, обогрев. 80 фото теплых курятников

Какие конструкции бетононасосов существуют
По типу привода бетононасосы бывают гидравлическими и механическими. По конструкции разливают беспоршневые и поршневые. По способу передвижения бетононасосы бывают стационарными и мобильными. Несмотря на кажущееся разнообразие, сегодня в строительстве используют два типа бетононасоса: поршневой (с гидравлическим приводом) и роторный (с механическим приводом).
В роторном агрегате смесь подается за счет роликов, которыми оснащен корпус ротора: они в процессе вращения давят на подающий рукав и бетон выбрасывается оттуда. Но самостоятельно сделать такой бетононасос очень трудно, так как конструкция роторного типа сложная, поэтому обычно своими руками собирают поршневые агрегаты.

Поршневая установка включает три основных детали:
- Поршень – приводит в действие цилиндр
- Цилиндр – деталь, ответственная за забор смеси из бункера и ее перекачку
- Привод – обычно выбирают гидравлический или электромеханический
Чаще всего используются однопоршневые агрегаты, так как двухпоршневые предполагают сложную конструкцию. Эксплуатация двухпоршневых агрегатов осуществляется благодаря электрическому или дизельному двигателю, который преобразовывает энергию гидравлическую в механическую.

Рекомендации
Строительство даже небольших сооружений требует использование многообразия инструментов и методик:
- самой частой сферой использования бетононасоса является формирование фундамента. Для свайного типа удобно и дёшево использовать ручной бур ТИСЭ;
- в основе монолитной конструкции всегда используется металлическая основа. Вязальный пистолет для арматуры ускорит создание каркаса;
https://www.youtube.com/embed/SGgtTSqiYeo
- часто бетонирование сочетается с применением других строительных материалов. Если объём работ достаточно большой, пригодится станок для изготовления шлакоблоков или станок для производства строительных блоков;
- после возведения сооружения всегда приходится просверливать отверстия для электропроводки, фиксации оборудования и т.п. Бурение бетона алмазными коронками – это простой и надёжный способ прокладывания коммуникации в стенах, метод применим при любых других бурильных работах;
- на финальном этапе обустройства строения пригодится коронка для подрозетников, с её помощью отверстия будут ровными, в них легко становится коробка для розетки.
Варианты создания замораживающей установки
Своими руками морозильную камеру создать можно:
- из старого холодильника;
- из пустующего контейнера, лари, помещения;
- из подвала, погреба.

Из старого холодильного агрегата
Самым простым, доступным способом будет создание замораживающего аппарата из холодильника. Общая схема преобразования осуществляется таким образом:
- разбирают морозильный отсек;
- демонтируют и разворачивают испаритель;
- закрепляют его на задней стенке болтами;
- устанавливают датчик обратно;
- проверяют работоспособность.

Из пустующего помещения
Имеющееся пустующее помещение можно преобразовать в морозильное отделение. Все действия выполняют в такой последовательности:

Аналогичным образом можно создать замораживающую установку из коробок различных размеров (состоящих из разных материалов), боксов, контейнеров. Схема работ следующая:
В погребе (подвале) достаточно выполнить заделку щелей, уплотнение двери и установить сплит-систему. Только потребуется выводить на поверхность, обустраивать там внешний блок.
На следующем видео показан процесс создания морозильного аппарата из комнаты.
Какие бывают бетононасосы?
Выделяют несколько видов бетононасосов:
- по мобильности (стационарные и мобильные);
- по типу подачи смеси (поршневые и вакуумные).
Как уже писалось выше, наиболее популярными являются поршневые насосы. Реже используются вакуумные, бетонная смесь в них подается благодаря созданию вакуума в приемном лотке.
Стационарные бетононасосы не могут передвигаться самостоятельно, их перевозят на прицепе. Также они не имеют стрел для подачи смеси, что не всегда удобно. Мобильные установки наиболее распространены, чаще всего используют автобетононасосы и агрегаты на автомобильных шасси.
Как изготовить бетононасос – технология производства
В процессе работ потребуются вспомогательные инструменты, желательной мерой является теплоизоляция. Героторный насос своими руками изготавливается по единой схеме. Основные моменты сборки бетононасоса:
- Оценка целесообразности изготовления. Для масштабного строительства есть смысл приобрести собственную установку. Для небольших и средних объёмов работ выгодно заказать аренду автобетононасоса. Самодельный бетононасос – это относительно сложный и дорогой процесс.
- Создание чертежа. Схема бетононасоса несложная, её составление потребует наличие минимальных навыков проектирования или воспользоваться существующими схемами. Самостоятельное изготовление – это более тяжёлый способ, но позволяет создать конструкцию для конкретных нужд. Применение готовых схем удобно благодаря снижению временных затрат и возможности изучения отзывов о недочётах чертежа или найти в них способы улучшения конструкции.
- Подбор цилиндра с поршнем. Ключевой элемент системы следует выбирать с запасом мощности. Максимальный диаметр цилиндра составляет 400 мм, лучше выбирать меньшие модели. Оценка хода поршня – от 50 см. Если не происходит совпадение параметров, увеличивается число рабочих циклов, как следствие – быстрый износ.
- Подгонка поршня, цилиндров. Чтобы насос служил долго, следует выполнить высокоточную подгонку и устранение шероховатости.
- Подбор типа узла. Снизить сложность и стоимость изготовления аппарата поможет электромеханический насос. Гидравлический вариант может приготовляться вручную, но это приведёт к повышению расходов и усложнению процесса.
- Установка редуктора. Механизм должен включать передаточное число для снижения и преобразования вращательных движений в поступательные.
- Монтаж шкворня. Элемент подключают к механизму. Для приготовления сварной рамы используется металлический уголок. В систему вводятся обратные клапаны из легированной стали, она устойчива к износу.
После подготовки деталей и сбора насоса остаётся проверить работоспособность установки. Запрещён запуск аппарата без бетона или специализированной пусковой смеси (вручную изготавливается из цемента с водой и добавлением автомобильного масла).

Чертеж бетононасоса
Автоматический привод
Само собой, ваш бетононасос не будет работать без привода. Думая о том, на каком приводе тормознуть, необходимо держать в голове о простоте и экономии. Самым легкодоступным, экономным и обычным для монтажа является электромеханический привод. Он на голову превосходит 2-ой по частоте использования гидравлический привод.
Схема привода насоса.
Приводиться в движение ваш бетононасос будет средством асинхронного электродвигателя, который запитывается от 3-х фаз. Дальше для вас пригодится особое устройство – редуктор, понижающий передаточное число, и механизм, модифицирующий вращательное движение мотора в поступательное движение поршня. Для того чтоб привести поршень в движение, модифицирующий механизм и поршень соединяются шкворнем.
Вот перечень того, что непременно для вас пригодится в процессе присоединения привода к бетононасосу:
- электродвигатель, редуктор и шкворень (фактически, без их неосуществим установка); набор гаечных ключей; шуруповерт и отвертки; изолирующая лента; медные провода; электроиндикатор.
Соединение камеры смешивания и пенопатрона
Дальше нужно соединить камеру смешивания и пенопатрон.Естественно, сделать это нужно так, чтобы приваренные патрубки были размещены спротивоположных торцов. Чтобы обеспечить увеличение скорости прохожденияпенобетонной смеси по трубке, нужно между ними установить сопло Лаваля илишайбу-жиклер.
Замена сопла на жиклер снизит КПД конструкции на 30-40%, за счетснижения скорости прохождения смеси через нее. Однако она дешевле, проще в установкеи может быть использована как временный вариант. Место установки сопла или жиклера

показано на схеме.
Схема пеногератора для пенобетона с использованием шайбы-жиклера
Соотношение размеров пеногенератора для пенобетона (глубина и входной диаметр)

Соотношение размеров пеногенератора для пенобетона
Как изготовить бетононасос – технология производства
- На первом этапе стоит оценить все «за» и «против». Иногда целесообразнее купить новый агрегат или же воспользоваться услугами аренды. Создание бетононасоса – дело не только сложное, но и достаточно дорогое.
- Составление чертежа. Это простая задача для тех, кто освоил навыки проектирования. В противном случае можно воспользоваться готовыми схемами, которыми усыпана глобальная сеть. Еще там можно ознакомиться и с отзывами таких же изобретателей и оценить свои возможности, а также необходимость создания техники.
- Выбор рабочего цилиндра с поршнем. Данный элемент является ключевым в бетононасосе. Стоит помнить, что нельзя брать цилиндр с диаметром более 400 мм, лучше, если он будет меньше этой отметки. Также нужно оценить ход поршня, который не должен быть менее 0,5 м. В случае, когда параметры не совпадают, происходит увеличение количества рабочих циклов. Это может привести к быстрому износу всего механизма.
- При изготовлении поршня с цилиндрами нужно, чтобы все детали имели высокую точность параметров и низкий уровень шероховатости. Только в этом случае оборудование будет служить долго и эффективно.
- Для упрощения процесса изготовления бетононасоса и уменьшения стоимости работ лучше использовать электромеханический насос. Конечно, применение гидравлического варианта тоже возможно, но тогда в разы возрастет стоимость и усложнится процесс изготовления.
- Нельзя забывать и про редуктор. Это устройство должно содержать в себе передаточное число, понижающее и преобразовывающее вращательные движения в поступательные.
- Использование шкворня. Его необходимо присоединить к механизму. Также применяется статина (то есть металлический уголок) в качестве сварной рамы. Легированная сталь понадобится для создания обратных клапанов. Она отличается повышенной прочностью и может продлить эксплуатационный срок механизмов.
После того как все детали готовы и оборудование собрано, необходимо проверить его работу. Нельзя использовать бетононасос, если в нем нет бетона или специальной пусковой смеси, которую можно изготовить из обычного цемента, разведенного в воде, с добавлением машинного масла.
Возведение многоэтажного здания без использования бетонного насоса практически невозможно. Специальные машины позволяют доставлять бетон на то место, где он необходим прямо сейчас, без задержек и лишних движений. Однако многие задаются вопросом, а можно ли использовать бетононасос в частном строительстве.
В большинстве частных секторов довольно плохие условия для проезда сложной техники, а замешивать бетон вручную совсем не хочется, поэтому на выручку всегда может прийти бетононасос. Его использование существенно облегчит работу и сократит время строительства.
Но стоит помнить, что автобетононасос обладает довольно большими габаритами, и в разложенном виде он будет занимать до 12 м в ширину, а про стрелу со шлангом подачи и говорить нечего. Она достигает 70 метров. Именно поэтому возникают проблемы при использовании этой техники.
Для доставки небольшого количества бетона можно использовать простой КамАЗ, на который крепится магистраль. Она состоит из нескольких труб, соединенных между собой хомутами. Это наиболее простой вариант бетононасоса, не занимающий много места.
Бывают случаи, когда даже небольшой КамАЗ проехать не может, например из-за узкого проулка. Здесь для сборки магистрали потребуется ручная сила, достаточно двух человек. Трубы довольно тяжелые, и тащить их одному просто не под силу. Проблемы, которые могут возникнуть при сборке такого механизма:
- Риск разрыва магистрали. Из-за большого напора бетона хомуты могут не выдержать, и между креплениями образуется дырка. В этом случае необходимо остановить работу насоса, прочистить трубы и произвести повторное соединение.
- Перекладка магистрали. Данная проблема возникает при необходимости произвести заливку бетона на другом участке. Для этого следует разобрать трубы, очистить их от смеси и заново проложить магистраль.
Получается, требуется много времени, чтобы наладить работу бетононасосного оборудования. Но это сделать проще, чем замешивать бетонный раствор вручную.
Если не получается создать шнековый бетононасос своими руками, то можно воспользоваться объявлениями, предлагающими услуги аренды. Их стоимость на первый взгляд кажется высокой, но если задуматься, сколько сил и труда вложено в работу оператора и его помощника, то становится понятно, что эта стоимость вполне оправдана.
Процесс изготовления
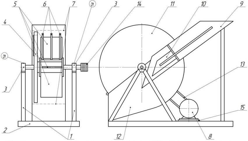
Схема размеров стационарного бетононасоса.
Элементы, которые нужны:
- поршень;
- цилиндр;
- передаточный механизм;
- асинхронный электродвигатель;
- редуктор с понижающим передаточным числом;
- сварная объемная металлическая рама;
- клапаны из высокопрочной стали;
- цемент;
- вода;
- машинное масло;
- пластиковые трубы;
- жесткие трубы.
Изготовление подобной конструкции своими руками является сложным и недешевым проектом. В связи с этим, прежде чем приступать к данным работам, необходимо еще раз взвесить собственные возможности и силы, после чего подсчитать, насколько оправданными будут понесенные затраты. В некоторых случаях гораздо целесообразнее будет взять насос небольших размеров в аренду.
Перед тем как приступить к изготовлению подобного устройства, необходимо составить его эскиз и чертеж. Если нет навыков проектирования, есть возможность пользоваться готовыми чертежами
К чертежам, которые были скачаны из Интернета, необходимо относиться с определенной осторожностью: вполне возможно, что насос, который был изготовлен по выбранным чертежам, работал не очень эффективно. Рекомендуется найти и ознакомиться с отзывами домашних умельцев, которые имеют опыт изготовления подобной конструкции по выбранным схемам. Основным узлом бетононасоса является рабочий цилиндр с поршнем
В процессе изготовления данного узла стоит учитывать, что диаметр его должен быть не меньше 400 мм. Рабочий ход поршня должен составлять не меньше 0,5 м. Если это не учесть, может увеличиться количество рабочих циклов с перекачки, а это приведет к быстрому износу механизма
Основным узлом бетононасоса является рабочий цилиндр с поршнем. В процессе изготовления данного узла стоит учитывать, что диаметр его должен быть не меньше 400 мм. Рабочий ход поршня должен составлять не меньше 0,5 м. Если это не учесть, может увеличиться количество рабочих циклов с перекачки, а это приведет к быстрому износу механизма.
Поверхности цилиндра и поршня, которые соприкасаются, должны иметь низкую шероховатость и высокую степень точности. Это способно не только повысить эффективность работы, но и увеличить срок его службы.
Привод лучше всего использовать электромеханический. Гидравлический привод более дорогой и сложный в изготовлении. Для привода понадобится трехфазный асинхронный электродвигатель, передаточный механизм, который преобразовывает вращательные движения в поступательные, и редуктор с понижающим передаточным числом.
К механизму нужно присоединить шкворень, который передает поступательное движение к поршню. В качестве станины есть возможность использовать сварную объемную раму из металла
Особое внимание необходимо уделить обратным клапанам. Для изготовления их нужно использовать легированную высокопрочную сталь, которая способна выдержать многократные циклы бетонной перекачки. Для пусковой смеси есть возможность использовать цемент, который сильно разведен в воде, с добавлением машинного масла
Бетоноводы понадобятся для того, чтобы перекачивать бетон от насоса к месту заливки. Они изготавливаются из комбинации пластиковых и жестких труб большого диаметра
Для пусковой смеси есть возможность использовать цемент, который сильно разведен в воде, с добавлением машинного масла. Бетоноводы понадобятся для того, чтобы перекачивать бетон от насоса к месту заливки. Они изготавливаются из комбинации пластиковых и жестких труб большого диаметра.
Принцип работы автобетононасоса

В строительстве используется техника, которая облегчает человеческий труд. Автобетононасос способен заменить несколько десятков рабочих рук. Он перекачивает бетонный состав, и экономит при этом массу времени. Агрегат устанавливается на шасси грузового автотранспортного средства, работает в автономном режиме, и способен подавать бетон на высоту.
В конструкции имеется стрела, на которой закреплена труба. Через нее подается состав на расстояние, предусмотренное техническими возможностями конкретного бетононасоса. Стрела состоит из нескольких отдельных элементов, соединенных в подвижных узлах. При транспортировке, магистраль находится на шасси автомобиля в собранном виде. При подаче бетона она раскладывается.
Длина трубы бывает разной, все зависит марки. В основном используются конструкции длинной 22-64 метра, но бывают и небольшие – около 10 м. Изготавливают эту технику японские и корейские компании.
Транспортировка бетона
Для приготовления бетонной смеси в пути следования к строительной площадке используют автобетоносмеситель с насосом. На базе автомобиля крепится бетономешалка с насосом, который подает в процессе транспортировки к объекту застройки ингредиенты бетонной смеси непосредственно в непрерывно вращающийся барабан.
Для подачи бетонной смеси из миксера к месту бетонирования конструкций бетоносмеситель с насосом оборудуется лотковым загрузочно-погрузочным устройством.
Такую технику можно использовать, когда заливать раствор необходимо в тех местах, куда проедет автомобиль
Такие смесители на авто ходу способны приготовить и доставить раствор в объеме от пяти до девяти метров кубических. Как правило, они располагаются на базе автомобилей ЗИЛ, Урал, КамАЗ, МАЗ, КрАЗ и МЗКТ, которые предназначены для различных нагрузок и работают в любых дорожных условиях.
Автобетоносмесители с насосом целесообразно приобретать компаниям, специализирующимся:
Иметь в собственности подобную бетономешалку могут себе позволить только крупные строительные организации, занимающиеся масштабным строительством на постоянной основе. Лишь в этом случае окупаемость техники будет иметь высокий уровень.
Даже при учете амортизационных отчислений на содержание подобной техники при ее постоянной нормативной загрузке, уже через год вы окупите средства, затраченные на ее покупку.
Особенно рентабельна эксплуатация автобетоносмесителей с насосом для устройства дорожных покрытий, строительства сельскохозяйственных комплексов и других объектов застройки, удаленных от поставщика бетона.
Теперь вы знаете цену насоса, который в будущем будет заливать вам бетонный фундамент или который вы приобретете в свой автопарк, что, согласитесь, весьма рентабельно в условиях повышенного спроса на строительство загородных домов. Главное – не ошибиться с выбором производителя оборудования и следить за состоянием техники.
В представленных видео в этой статье вы найдете дополнительную информацию по данной теме.
Изготовление своими руками
Во все времена находились мастера, которые предпочитают делать все сами и доверяют только тем вещам, которые сделали своими руками. Шнековые устройства не являются исключением.
Вне зависимости от того, каким образом была сделана вещь – своими руками или на специализированном производстве, технология изготовления не сильно отличается, и она обязана быть. По наитию сделать шнековый насос вряд ли получится.
Поэтому, прежде чем изготавливать шнековый насос, следует знать, как это делается:
- Поскольку создание бетононасоса — достаточно дорогой и сложный процесс, следует быть на сто процентов уверенным, что сделать его своими руками будет целесообразнее, чем купить или арендовать готовую модель.
- Как и любой сложный технический механизм, его следует изготавливать по заранее составленному чертежу. Чертеж можно найти готовый или спроектировать самому, если есть соответствующие навыки.
- Ключевым элементом в бетононасосе является рабочий цилиндр с поршнем. Не стоит брать цилиндр более 400 мм с ходом поршня не более 0,5 м.
- Чтобы устройство прослужило эффективно и долго, детали следует изготавливать с высокой точностью и низкой шероховатостью.
- При выборе следует помнить о том, что гидронасос выйдет гораздо дороже и сложнее в изготовлении, чем электронасос.
- Правильный выбор редуктора – одна из ключевых процедур изготовления.
Чтобы собрать шнековые насос своими руками, нужно иметь соответствующий опыт Для изготовления обратных клапанов следует использовать легированную сталь. Также не стоит забывать об использовании шкворня.



































